文章詳情
SA型多軸器外型尺寸
日期:2025-03-12 23:33
浏覽次數:0
摘要:<div class="sCon">
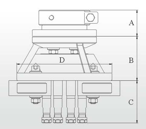
<p align="center"><font face="Verdana" size="4"><font face="Verdana">SA型可調多軸器外型尺寸</font></font></p>
<p align="center"><img src="static/picture/2012710123953841.jpg" border="0" alt="" /></p>
<p>
<table bordercolor="#000000" cellspacing="2" cellpadding="3" width="100%" bgcolor="#ffffff" border="1" heihgt="">
<tbody>
<tr>
<td rowspan="2">
<p align="center"> 型号</p>
</td>
<td colspan="3">
<p align="center"> A</p>
</td>
<td rowspan="2">
<p align="center"> B</p>
</td>
<td colspan="8">
<p align="center"> C</p>
</td>
<td rowspan="2">
<p align="center"> D</p>
</td>
</tr>
<tr>
<td>
<p align="center"> <font face="Verdana">Φ65(MT2)</font></p>
</td>
<td>
<p align="center"> <font face="Verdana">Φ95(MT3)</font></p>
</td>
<td>
<p align="center"> <font face="Verdana">Φ95(MT4)</font></p>
</td>
<td>
<p align="center"> ER8</p>
</td>
<td>
<p align="center"> ER11</p>
</td>
<td>
<p align="center">ER16</p>
</td>
<td>
<p align="center"> ER20</p>
</td>
<td>
<p align="center">C5 </p>
</td>
<td>
<p align="center"> C6</p>
</td>
<td>
<p align="center"> C9</p>
</td>
<td>
<p align="center"> C12</p>
</td>
</tr>
<tr>
<td>
<p align="center">SA116</p>
</td>
<td>
<p align="center">52</p>
</td>
<td>
<p align="center"> /</p>
</td>
<td>
<p align="center">/</p>
</td>
<td>
<p align="center">88</p>
</td>
<td>
<p align="center">/</p>
</td>
<td>
<p align="center">74</p>
</td>
<td>
<p align="center">86</p>
</td>
<td>
<p align="center">96</p>
</td>
<td>
<p align="center">/</p>
</td>
<td>
<p align="center">80</p>
</td>
<td>
<p align="center">99</p>
</td>
<td>
<p align="center">102</p>
</td>
<td>
<p align="center"><font face="Verdana"><font face="Verdana">Ф190</font></font></p>
</td>
</tr>
<tr>
<td>
<p align="center">SA124</p>
</td>
<td>
<p align="center"> 52</p>
</td>
<td>
<p align="center"> 62</p>
</td>
<td>
<p align="center">/</p>
</td>
<td>
<p align="center">92</p>
</td>
<td>
<p align="center">/</p>
</td>
<td>
<p align="center">74</p>
</td>
<td>
<p align="center"> 86</p>
</td>
<td>
<p align="center">96</p>
</td>
<td>
<p align="center">/</p>
</td>
<td>
<p align="center">80</p>
</td>
<td>
<p align="center">99</p>
</td>
<td>
<p align="center">102</p>
</td>
<td>
<p align="center"><font face="Verdana"><font face="Verdana">Ф227</font></font></p>
</td>
</tr>
</tbody>
</table>
</p>
</div>
<div style="text-align: center"><font face="Verdana" size="4">SA型可調多軸器實物圖</font><br />
<img height="492" width="401" alt="" src="static/picture/SA.jpg" /></div>
SA型可調多軸器外型尺寸

|
型号 |
A |
B |
C |
D |
|||||||||
|
Φ65(MT2) |
Φ95(MT3) |
Φ95(MT4) |
ER8 |
ER11 |
ER16 |
ER20 |
C5 |
C6 |
C9 |
C12 |
|||
|
SA116 |
52 |
/ |
/ |
88 |
/ |
74 |
86 |
96 |
/ |
80 |
99 |
102 |
Ф190 |
|
SA124 |
52 |
62 |
/ |
92 |
/ |
74 |
86 |
96 |
/ |
80 |
99 |
102 |
Ф227 |
SA型可調多軸器實物圖






